Product Summary
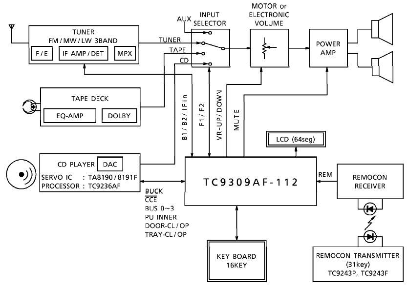
The TC9309AF-228 is a CMOS LSI designed for a PLL frequency synthesizer radio system corresponded to the requirement of the whole world. Since TC9309AF-228 can be used for TC9236F(AF) the CD processor and receive remote control signal, a low cost compact CD radio system can be constructed.
Parametrics
TC9309AF-228 absolute maximum ratings: (1)Area: Europe; (2)Band: FM; (3)Frequency range: 87.50 to 108.00MHz; (4)Step: 50KHz; (5)Fref: 50KHz; (6)If: +10.70MHz.
Features
TC9309AF-228 features: (1)Tuning functions and preset memory, manual up/down tuning; seek up/down tuning; scan up tuning; IF count; (2)Preset memory functions, FM: 10 stations, MW(AM): 10 stations, LW: 5 stations; (3)Clock functions: 12H/24H clock; (4)CD functions: randon play; intro play; repeat play or track repeat play; memory play; CD FF/REW; synchronous recording mode; tray open/close control; indication of CD remain time.
Diagrams

![]() |
![]() TC9304F |
![]() Other |
![]() |
![]() Data Sheet |
![]() Negotiable |
|
||||
![]() |
![]() TC9307AF-008 |
![]() Other |
![]() |
![]() Data Sheet |
![]() Negotiable |
|
||||
![]() |
![]() TC9307AF-009 |
![]() Other |
![]() |
![]() Data Sheet |
![]() Negotiable |
|
||||
![]() |
![]() TC9307AF-018 |
![]() Other |
![]() |
![]() Data Sheet |
![]() Negotiable |
|
||||
![]() |
![]() TC9307AF-019 |
![]() Other |
![]() |
![]() Data Sheet |
![]() Negotiable |
|
||||
![]() |
![]() TC9308AF-022 |
![]() Other |
![]() |
![]() Data Sheet |
![]() Negotiable |
|
||||
(China (Mainland))








