Product Summary
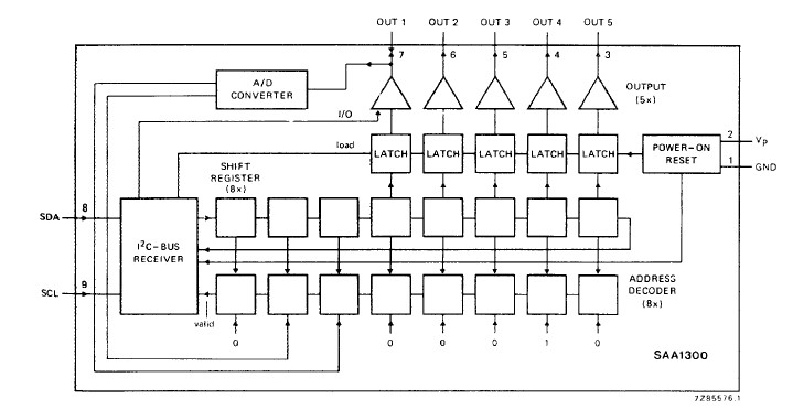
The SAA1300 is a tuner switching circuit. It is for switching on and off the supply lines of various circuit parts via an I2C bus signal. Furthermore, the SAA1300 can be used to supply current for switching diodes in radio and television tuners. The SAA1300 contains 5 output stages, which are capable of supplying up to 85 mA in the ON state or sinking up to -100 mA in the OFF state.
Parametrics
SAA1300 absolute maximum ratings: (1)Supply voltage VP max.: 13,2 V; (2)Input voltage range at SDA, SCL VI: -0,5 to + 6,0 V; (3)Input voltage range at OUT 1 VI: -0,5 to + 12,5 V; (4)Output voltage range at OUT 1 to OUT 5 VO: -0,5 to + 12,5 V; (5)Input current at SDA, SCL II: max. 20 mA; (6)Input current at OUT 1 II: max. 20 mA; (7)Total power dissipation Ptot: max. 825 mW; (8)Storage temperature range Tstg: -40 to + 125 ℃; (9)Operating ambient temperature ranges Tamb: -20 to + 80 ℃.
Features
SAA1300 characteristics: (1)Supply voltage range VP: 4 to 12 V; (2)Supply current 5 outputs LOW IPL: 5 to 15 mA; 5 outputs HIGH IPH: 30 to 70 mA; (3)Power on reset level output stage in OFF condition VPR: 3,5 to 3,8 V; (4)Maximum power dissipation Pmax: 650 mW.
Diagrams

| Image | Part No | Mfg | Description | ![]() |
Pricing (USD) |
Quantity | ||||||||||||
|---|---|---|---|---|---|---|---|---|---|---|---|---|---|---|---|---|---|---|
![]() |
![]() SAA1300 |
![]() Other |
![]() |
![]() Data Sheet |
![]() Negotiable |
|
||||||||||||
| Image | Part No | Mfg | Description | ![]() |
Pricing (USD) |
Quantity | ||||||||||||
![]() |
![]() SAA1027 |
![]() Other |
![]() |
![]() Data Sheet |
![]() Negotiable |
|
||||||||||||
![]() |
![]() SAA1029 |
![]() Other |
![]() |
![]() Data Sheet |
![]() Negotiable |
|
||||||||||||
![]() |
![]() SAA1042 |
![]() Other |
![]() |
![]() Data Sheet |
![]() Negotiable |
|
||||||||||||
![]() |
![]() SAA1057 |
![]() Other |
![]() |
![]() Data Sheet |
![]() Negotiable |
|
||||||||||||
![]() |
![]() SAA1064 |
![]() Other |
![]() |
![]() Data Sheet |
![]() Negotiable |
|
||||||||||||
![]() |
![]() SAA1064/N2,112 |
![]() NXP Semiconductors |
![]() LED Display Drivers LED DRVR 4DGT W/I2C |
![]() Data Sheet |
![]()
|
|
||||||||||||
(China (Mainland))










