Product Summary
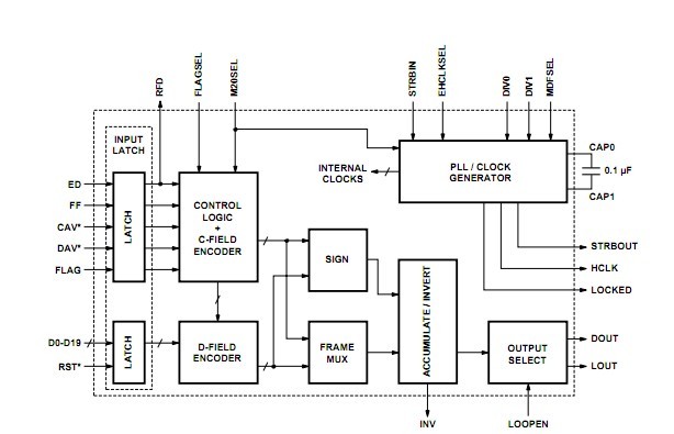
The HDMP-1022 transmitter is used to build a high-speed data link for point-to-point communication. The monolithic silicon bipolar transmitter chip and receiver chip are each provided in a standard aluminum M-Quad 80 package. From the user viewpoint, the HDMP-1022 can be thought of as providing a virtual ribbon cable interface for the transmission of data. Parallel data (a frame) loaded into the Tx (transmitter) chip is delivered to the Rx(receiver) chip over a serial channel, which can be either a coaxial copper cable or optical link. The applications of the HDMP-1022 are: (1)Backplane/Bus Extender; (2)Video, Image Acquisition; (3)Point to Point Data Links; (4)Implement SCI-FI Standard; (5)Implement Serial HIPPI Specification.
Parametrics
HDMP-1022 absolute maximum ratings: (1)VCC Supply Voltage: -0.5 to 7.0V; (2)VIN,TTL TTL Input Voltage: -0.7 to VCC + 0.5 V; (3)VIN,BLL H50 Input Voltage: VCC - 2.0 to VCC + 0.5V ; (4)IO,TTL TTL Output Source Current: +13mA ; (5)Tstg Storage Temperature: -40 to +130℃; (6)TJ Junction Temperature: -40 to +130℃; (7)Tmax Maximum Assembly Temperature (for 10 seconds maximum): +260℃.
Features
HDMP-1022 features: (1)Transparent, Extended Ribbon Cable Replacement; (2)Implemented in a Low Cost Aluminum M-Quad 80 Package; (3)High-Speed Serial Rate 150-1500 MBaud; (4)Standard TTL Interface 16, 17, 20, or 21 Bits Wide; (5)Reliable Monolithic Silicon Bipolar Implementation; (6)On-Chip Phase-Locked Loops; (7)Transmit Clock Generation; (8)Receive Clock Extraction.
Diagrams

| Image | Part No | Mfg | Description | ![]() |
Pricing (USD) |
Quantity | ||||
|---|---|---|---|---|---|---|---|---|---|---|
![]() |
![]() HDMP-1022 |
![]() Other |
![]() |
![]() Data Sheet |
![]() Negotiable |
|
||||
| Image | Part No | Mfg | Description | ![]() |
Pricing (USD) |
Quantity | ||||
![]() |
![]() HDMP-0421 |
![]() Other |
![]() |
![]() Data Sheet |
![]() Negotiable |
|
||||
![]() |
![]() HDMP-0422 |
![]() Other |
![]() |
![]() Data Sheet |
![]() Negotiable |
|
||||
![]() |
![]() HDMP-0440 |
![]() Other |
![]() |
![]() Data Sheet |
![]() Negotiable |
|
||||
![]() |
![]() HDMP-0450 |
![]() Other |
![]() |
![]() Data Sheet |
![]() Negotiable |
|
||||
![]() |
![]() HDMP-0452 |
![]() Other |
![]() |
![]() Data Sheet |
![]() Negotiable |
|
||||
![]() |
![]() HDMP-0480 |
![]() Other |
![]() |
![]() Data Sheet |
![]() Negotiable |
|
||||
(China (Mainland))









