Product Summary
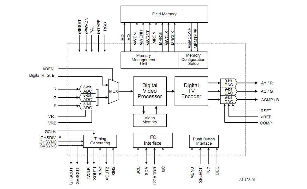
The AL128B-PBF is a PC to TV scan converter chip. It accepts graphic data up to 1024x768 resolution from PC and Macintosh graphics controllers and converts it into high quality NTSC or PAL TV signals. This new chip AL128B-PBF is pin-to-pin compatible with the AverLogic AL100 but provides analog RGB output for SCART implementation. The applicaitons of the AL128B-PBF include PC ready multimedia TV, TV output for laptop, network, entertainment PC, Net browser/set-top box, Internet TV, VGA add-on card with TV output and VGA to TV converter box.
Parametrics
AL128B-PBF absolute maximum ratings: (1)Device Type: Scan Converter; (2)Input Channels: 1; (3)Input Formats: VGA, Macintosh; (4)Output Channels: 1; (5)Output Formats: NTSC, PAL, RGB(SCART); (6)Package: LQFP; (7)Pins: 160; (8)PIP: N; (9)Resolution: 1024×768; (10)Temp range: 0 to 70℃; (11)VCC Max: 5 V; (12)VCC Min: 5 V.
Features
AL128B-PBF features: (1)Convert non-interlaced VGA or Macintosh video into interlaced TV format (NTSC/PAL); (2)Analog RGB output for SCART interface; (3)Highly integrated design with built-in NTSC/PAL encoder, ADC, DAC and SRAM; (4)High clarity 5-line anti-flicker filter; (5)8 levels of sharpness control; (6)Supports up to full 1024x768 VGA resolution; (7)Automatically supports scan rate from 50Hz up to 100Hz ; (8)Linear vertical and horizontal over/underscan control ; (9)Zoom and freeze controls; (10)Four-touch-button interface with on-screen-menu on TV; (11) Horizontal and vertical position/panning control; (12)Optional digital 24-bit RGB/VAFC interface; (13)Power down feature controlled by software or hardware; (14)Full programmability via I2C interface; (15)Brightness control; (16)Built-in color bar; (17)Thin, small LQFP package for PCMCIA or notebooks; (18)28×28 PQFP package available upon request.
Diagrams

![]() |
![]() AL1201 |
![]() Other |
![]() |
![]() Data Sheet |
![]() Negotiable |
|
||||||||||||||
![]() |
![]() AL12A05N0JTR |
![]() AVX |
![]() RF Inductors 5nH 5% AIR CORE |
![]() Data Sheet |
![]()
|
|
||||||||||||||
![]() |
![]() AL12A05N0KTR |
![]() AVX |
![]() RF Inductors 5nH 10% AIR CORE |
![]() Data Sheet |
![]()
|
|
||||||||||||||
![]() |
![]() AL12B17N5GTR |
![]() AVX |
![]() RF Inductors 17.5nH 2% AIR CORE |
![]() Data Sheet |
![]()
|
|
||||||||||||||
![]() |
![]() AL12A18N5GTR |
![]() AVX |
![]() RF Inductors 18.5nH 2% AIR CORE |
![]() Data Sheet |
![]()
|
|
||||||||||||||
![]() |
![]() AL12A08N0GTR |
![]() AVX |
![]() RF Inductors 8nH 2% AIR CORE |
![]() Data Sheet |
![]()
|
|
||||||||||||||
(China (Mainland))









